|
一、簡圖

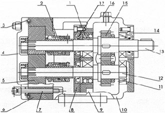
1、雙列球軸承 2、泵用機械密封 3、O形密封圈 4、泵面蓋 5、三葉形泵輪 6、泵體 7、雙頭螺柱 8、軸承壓蓋 9、軸承支座 10、齒輪輪箱 11、圓錐滾子軸承 12、傳動軸 13、主傳動軸 14、齒輪箱后蓋 15、斜齒輪輪(一對) 16、油封 17、O形密封圈
二、安裝
由于該泵不附帶電機、調整裝置和基礎板等其它配件,故在安裝本泵時,希參照下圖(安裝示意圖)及前面的技術參數表中的電機功率和最高限速,選用合適的電機(最好選用調速電機)型號和一副彈性聯軸器,并按照本泵及所選電機的中心高、配制一塊不銹鋼的基礎板。
在安裝時。還應注意的幾個問題:
1、泵與電機出軸的聯接,應首先各自校正水平并保證兩者同軸后方可裝上聯軸器,否則,將會造成機件損壞。
2、因本泵是屬定容泵,每轉排量固定,一旦上道工序因故停止工作而泵仍在繼續工作的話,泵的壓力將無限升高,最后導致密封泄漏、機件損壞等事故的發生,為此,必須采取有效的預防措施。例一:與上、下工序間應連鎖,當上、下工序停機時,同時停止泵的工作。例二、可在輸出的管路裝安全閥及超壓回路系統,一旦超壓時會自動卸荷。
3、如果對泵加控制閥門的話,只能裝在泵的進口管路上,出口管路上不宜裝控制閥門,容易造成失誤超壓。
全部安裝完畢后,應進行全面檢查,包括機件堅固、電氣接線等,然后,用手將泵轉動3~5轉,察聽有否卡住或松動現象,直到正常為止,再進行通是電試運轉,如發現異常,因停止檢修,侍一切正常后才能交付使用。
三、操作
本泵操作方便、安全、只要一按電鈕,接通電源,便開始正常工作,為確保泵能更好的工作,還應注意以下要領。
1、在開泵前:首先檢查一下泵的零部件是否完好進、出管路上的閥門是否全部打開,總之,必須保證機件完好、管路暢通。
2、在開泵時:必須讓它下一道工序的設備先啟動工作,然后,才能啟動本泵。
3、在運轉過程中,應隨時地注意動作是否正常,如發現泵前斷流或泵后阻塞等現象,應及時停機,排除故障后再開機。
4、當全線停止工作時,應按流程先后依次停機,即先將泵停了之后,再停泵后面的有關設備。
對于任何機械設備,平時維護保養工作做得好壞,它不僅反映在生產是否正常,更重要的直接影響到機械設備的使用奉命,對于泵來說,當然也不例外,為此,注意以下幾方面維護保養工作。
1、密封件、泵的密封分為靜件密封和動件密封,支靜件密封的密封圈(參閱圖一、件3)應注意表面不要有劃痕或碰傷,否則,為直接影響密封效果;對于動件密封,因為它會受到壓力大小和輸送介質的腐蝕,還有介質中微粒磨損等諸多因素的影響(參閱圖一、件2)如果稍有不慎,很可能會有泄漏現象發生。一旦產品泄漏,應及時停機檢修,用柔軟干凈的棉布擦凈,涂上一層甘油,組裝后,先用手后,方可開機使用,如修復無望,應更換新件。
2、潤滑件,對本泵的傳動齒輪、滾動軸承、必須保持良好的潤滑條件(參閱圖一、的件15、件11和件1),平時,經常注意齒輪中油位的高低,給予足夠的潤滑油,并要保證油質的純正、清潔、定期(六個月或一年)更換一次新油。
3、電氣系統,在用電設備周圍,不準存放有破壞絕緣的器械,物質或氣體。同時必須保持用電設備在干燥的環境里工作。如難以避免應加有防潮設施。
4、日常保養,每當停機不工作時,將根據輸送物料的性質,選用相應的清洗劑,將泵進行有效的清洗,最后還得用清水清洗一遍,確保泵的清潔衛生。
|